CLK擴散式旋風除塵器簡介
CLK擴散式旋風除塵器,適用于捕集干燥的非纖維性的顆粒狀粉塵,主要特點是筒身呈倒圓錐形,因而減少了含塵氣體自筒身 短路到出口去的可能性,本旋風除塵器并裝有圓錐形的反射屏,防止兩次氣流將已經分離下來的粉塵重新卷起,被上升氣流帶出,因而提高了除塵效率。
CLK擴散式旋風除塵器適用于冶金、鑄造、建材、化工糧食、水泥等行業(yè)中,捕集干燥的非纖維性顆粒狀粉塵和煙塵除塵,可做回收物料設備使用。
CLK擴散式旋風除塵器技術性能
| 性能 | |||||||||||||||||||||||||||||||||||||||||||||||||||
|
|||||||||||||||||||||||||||||||||||||||||||||||||||

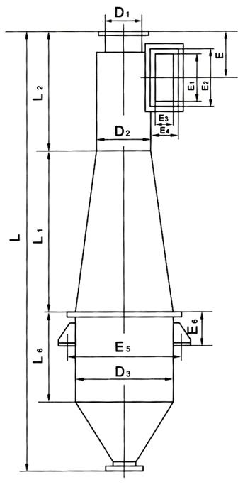
CLK擴散式旋風除塵器主要尺寸:














